脉冲喷吹控制仪安装使用注意事项:
1. 取下透明上盖,控制仪内底板四角有四个φ4安装孔,用四个M4×20螺钉将控制仪固定在除尘器或电控柜内适宜位置。
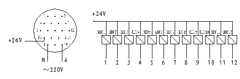
2. 控制仪与脉冲电磁阀及AC220电源的联接是通过航空插头实现的。只要按下图接线编号正确接线即可,线型为BVR0.5mm2。

3. 要特别注意:当调整脉冲间隔和脉冲宽度时,要用小号十字改刀轻微用力转动,防止因调整电位计用力过大而损坏电位计,并记牢反时针旋转时脉冲间隔和脉冲宽度增加,顺时针旋转则减小。
左电位计W1是调整脉冲间隔用的,右电位计W2是调整脉冲宽度用的。
4. LED1为机内DC12V指示灯,LED2为DC24V指示灯,0.3A熔丝为AC220V电源过流保护,1A熔丝为DC24V输出电源过流保护。
5. 每次接通电源,发光管显示从第一位开始循序进行,至终位后返回,再进行新的循环。